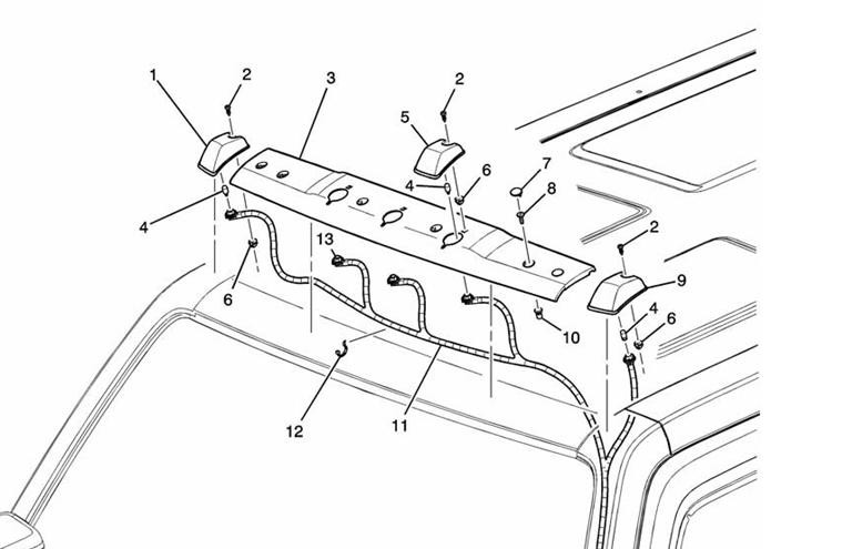
Top Trim/ Moulding Coming Apart
I have been using a product called Black to Black suggested here. I wondered if weather/over time issues would cause the plastic to crack. It seems keeping this up is helping the plastic to retain the sort of black look. And the molding does not seem to look dry.
I would think this may help with plastic molding cracking issues due to time and weather damage?
Hope you can replace the parts soon.
I would think this may help with plastic molding cracking issues due to time and weather damage?
Hope you can replace the parts soon.
06redhummer, I am very sorry for ruining your thread.
With out you posting a better description or picture of what exactly you are talking about I have to assume you are looking for the left and right A pilar plastic trim pieces?? or is it the rubber that attaches to the plastic trim peices?
Here are some replacement places to look at:
-Go to your local dealer (get the pt # and look for it online cheaper!)
Online:
-ebay
-GMpartshouse call and ask for Gene!
-GMpartsonline
-craigslist
Local
-local salvage yard
With out you posting a better description or picture of what exactly you are talking about I have to assume you are looking for the left and right A pilar plastic trim pieces?? or is it the rubber that attaches to the plastic trim peices?
Here are some replacement places to look at:
-Go to your local dealer (get the pt # and look for it online cheaper!)
Online:
-ebay
-GMpartshouse call and ask for Gene!
-GMpartsonline
-craigslist
Local
-local salvage yard
Tainters places to look are about the only places you can look without driving yourself nuts, however Gene at GMPartsHouse apparently does not have the pull we all thought he had. Not sure what happened there but the other salesmen at that website have downplayed his importance there (guess the other salesmen want their commissions).
anyways Wayne Auto eBay, you should try to refrain from getting upset on here and posting anything that creates a negative image of your company. i know its hard sometimes but you are with a company and have an image to maintain. i got peed off the other day from a guy busting my marbles over an old posting on a thread and i will not reply to him anymore.
so, things said on here are usually a misunderstanding or they are really havin a bad day and need to vent. so next time dont take it personally and just dont respond, or listen to other members and post for all to see.... cheers
anyways Wayne Auto eBay, you should try to refrain from getting upset on here and posting anything that creates a negative image of your company. i know its hard sometimes but you are with a company and have an image to maintain. i got peed off the other day from a guy busting my marbles over an old posting on a thread and i will not reply to him anymore.
so, things said on here are usually a misunderstanding or they are really havin a bad day and need to vent. so next time dont take it personally and just dont respond, or listen to other members and post for all to see.... cheers
Last edited by kauaineb; Feb 23, 2012 at 09:25 AM.
I am looking for the passenger side front pillar. But I really need the pc that goes down the side that clips into the front pillar. It is broken on the side pc not necessarily the front pillar. My driver side is also cracked where they clip together just not to the extreme of the other side. I will post a pic this wknd. thanks for all the replies. 

06redhummer, I am very sorry for ruining your thread.
With out you posting a better description or picture of what exactly you are talking about I have to assume you are looking for the left and right A pilar plastic trim pieces?? or is it the rubber that attaches to the plastic trim peices?
Here are some replacement places to look at:
-Go to your local dealer (get the pt # and look for it online cheaper!)
Online:
-ebay
-GMpartshouse call and ask for Gene!
-GMpartsonline
-craigslist
Local
-local salvage yard
With out you posting a better description or picture of what exactly you are talking about I have to assume you are looking for the left and right A pilar plastic trim pieces?? or is it the rubber that attaches to the plastic trim peices?
Here are some replacement places to look at:
-Go to your local dealer (get the pt # and look for it online cheaper!)
Online:
-ebay
-GMpartshouse call and ask for Gene!
-GMpartsonline
-craigslist
Local
-local salvage yard
06Red, not sure how bad your damage is, but I used black silicon RTV gasket maker (it matches perfectly on the black plastic) for any edges that were lifting and for the join between the front windshield cap and the molding that runs along the doors and back to the roof rack track. It came out great, barely visible, and all pieces are secure and water tight. Just a thought.
Unfortunately i don't have any that had the roof lights sorry.


